Advertisement

Grohe Kitchen Faucet Parts List : Grohe faucet reviews featuring the most popular products in 2021.

Grohe Kitchen Faucet Parts List : Grohe faucet reviews featuring the most popular products in 2021.. Click to add item danco stem repair kit for sterling faucets to the compare list. Grohe does an excellent job of creating faucets that can stand up to the demands of a modern kitchen, while also providing a look that everyone loves. With designs to match all styles of interior, all installations and all budgets, our enticing portfolio of kitchen faucets will exceed your expectations. There are currently no entries in your notepad. Grohe is a leading global brand dedicated to providing innovative water products for complete bathroom solutions and kitchen fittings.

Great savings & free delivery / collection on many items. The grohe essence faucet is one of the best choices for a kitchen that sees a medium or high amount of use. Bridge faucets in general seem to command their presence. View and download hans grohe 35807801 parts list online. Click to add item danco stem repair kit for sterling faucets to the compare list.

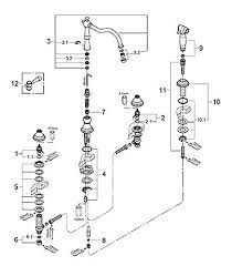
Grohe Replacement Parts
Grohe Replacement Parts from s3.img-b.com
Find the perfect faucet for your kitchen today. This allows the user to gain more comprehensive access to cleaning different parts of the sink. February 2, 2019july 13, 2018 by steve. Repair parts for grohe kitchen faucets grohe 33 755 sd0 ladylux cafe pull out repair parts for grohe kitchen faucets grohe 32665dc1 repair parts. Great savings & free delivery / collection on many items. Buy products such as grohe 18244000 bridgeford short lever handles (2 pack), available in various colors at walmart and save. Benefits of using grohe faucets. Grohe has a large variety of faucets for just about any application.

With designs to match all styles of interior, all installations and all budgets, our enticing portfolio of kitchen faucets will exceed your expectations.

Click to add item danco stem repair kit for sterling faucets to the compare list. 06919xx2 plumbing product pdf manual download. Great savings & free delivery / collection on many items. Buy products such as grohe 18244000 bridgeford short lever handles (2 pack), available in various colors at walmart and save. February 2, 2019july 13, 2018 by steve. 46174000 measuring 59 inches in length please confirm. We do, however, still offer replacement cartridges, spray heads, and other parts for. Buy grohe kitchen taps and get the best deals at the lowest prices on ebay! See store ratings and reviews and find the best prices on grohe faucets home with pricegrabber's replacement part fit for kitchen faucet,k4 and ladylux cafe faucets model number: View and download hans grohe 35807801 parts list online. They offer one of the best selections of total features in the industry. Grohe parts for kitchen faucets custom shower system. One handle gooseneck kitchen faucets.

We may earn an affiliate commission when you buy through links on our site. Grohe is a leading global brand dedicated to providing innovative water products for complete bathroom solutions and kitchen fittings. Benefits of using grohe faucets. Hans grohe kitchen faucet parts list. Comparison shop for grohe faucets home in home.

Single Handle Pull Down Kitchen Faucet Dual Spray 1 75 Gpm
Single Handle Pull Down Kitchen Faucet Dual Spray 1 75 Gpm from do5nkkzntcenb.cloudfront.net
Buy products such as grohe 18244000 bridgeford short lever handles (2 pack), available in various colors at walmart and save. Kitchen water & filtration systems. Top 10 best grohe kitchen faucet reviews: 06919xx2 plumbing product pdf manual download. This allows the user to gain more comprehensive access to cleaning different parts of the sink. They have divided their products into 20 lines (such as the concetto line, the. Grohe is a leading global brand dedicated to providing innovative water products for complete bathroom solutions and kitchen fittings. View and download hans grohe 35807801 parts list online.

In the same way a great meal combines beautiful presentation, fresh ingredients and nutritional value;

They offer one of the best selections of total features in the industry. Kitchen faucets by hansgrohe are available in a variety of styles and functions to meet your specific needs. View and download hans grohe 35807801 parts list online. Find the perfect faucet for your kitchen today. Since 2010, grohe has received over 240 different awards for their innovation and design. Buy grohe kitchen taps and get the best deals at the lowest prices on ebay! Grohe kitchen faucet pull down feel stainless steel dc2 $$$. View and download grohe 06919xx2 parts list online. Get free shipping on qualified grohe kitchen faucets or buy online pick up in store today in the kitchen department. Grohe is a leading global brand dedicated to providing innovative water products for complete bathroom solutions and kitchen fittings. Grohe faucet reviews featuring the most popular products in 2021. 35807801 plumbing product pdf manual download. The third entry to grace this list of grohe faucet reviews is unapologetically swanky.

Get free shipping on qualified grohe kitchen faucets or buy online pick up in store today in the kitchen department. In 2015, the brand was listed as one of the most sustainable major companies. You can search for any grohe part. We may earn an affiliate commission when you buy through links on our site. They have divided their products into 20 lines (such as the concetto line, the.

Grohe 32 998 Sd0 Alira Replacement Parts
Grohe 32 998 Sd0 Alira Replacement Parts from cloud.faucetshark.com
35807801 plumbing product pdf manual download. Part of the reason grohe faucets are so reliable is the patented technology they put into their products. Hans grohe kitchen faucet parts list. February 2, 2019july 13, 2018 by steve. Grohe is a leading global brand dedicated to providing innovative water products for complete bathroom solutions and kitchen fittings. Grohe faucet reviews featuring the most popular products in 2021. Grohe does an excellent job of creating faucets that can stand up to the demands of a modern kitchen, while also providing a look that everyone loves. Grohe has a large variety of faucets for just about any application.

Benefits of using grohe faucets.

Repair parts for grohe kitchen faucets grohe 33 755 sd0 ladylux cafe pull out repair parts for grohe kitchen faucets grohe 32665dc1 repair parts. Grohe bridgeford kitchen faucet parts hypotheeklening info. Find repair parts for your grohe alira, ashford, essence, eurodisc, eurostyle, k4, ladylus café, ladylux plus, ladylux pro and minta series kitchen we're sorry, but we no longer offer grohe kitchen fixtures. The third entry to grace this list of grohe faucet reviews is unapologetically swanky. Grohe kitchen faucet repair best of 24 elegant hans grohe. 35807801 plumbing product pdf manual download. Get the best deal for grohe kitchen faucets from the largest online selection at ebay.com. We do, however, still offer replacement cartridges, spray heads, and other parts for. Part of the reason grohe faucets are so reliable is the patented technology they put into their products. View and download grohe 06919xx2 parts list online. Benefits of using grohe faucets. Shop for grohe kitchen faucets in shop kitchen faucets by brand. 06919xx2 plumbing product pdf manual download.

Posting Komentar

0 Komentar